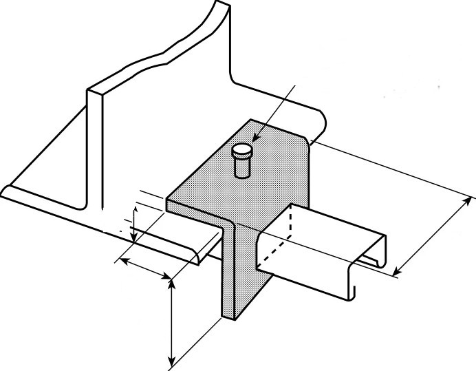
Unistrut kiskonkiinnike

Tuotenumero
7720
Hinta

2 € Alv. 0%

Ota yhteyttä →

Sijainti

N0222

Tuotetiedot

Unistrut kiskonkiinnike

hinta per kg

Oma paino 372 grammaa

Varastossa yli 100 kpl

Tilaa tuote →